
Scopri tutte le caratteristiche tecniche di Rollgrate®, la grata blindata che funziona come un'inferriata di sicurezza, personalizzabile su misura in dimensioni e colore.
Per informazioni sui prezzi delle inferriate di sicurezza, il dettaglio degli ingombri o una semplice consulenza, contattaci!
Dal punto di vista strutturale, il sistema di protezione che impiega Rollgrate® è caratterizzato da un corpo a serrande avvolgibili (che può essere una tapparella o una saracinesca) a cui viene agganciato uno speciale corpo grata, nascono così un tipo di inferriate scorrevoli verticali (Rollgrate®). Entrambi i corpi scorrono nelle guide laterali della tapparella e solidamente si avvolgono nel cassonetto.
Rollgrate® è anche dotata di uno speciale meccanismo di chiusura alloggiato all'interno dell'ultimo elemento orizzontale, il quale, al passaggio di configurazione, aziona automaticamente i catenacci.

Rollgrate® è costituito da una serie di elementi orizzontali interconessi da staffe oblique, imperniate all'elemento sottostante e a scomparsa nell'elemento sovrastante.
![]() Fig. 3 - Staffa trasversale |
Il primo elemento in alto della grata è un elemento di raccordo al corpo tapparella, mentre l'ultimo elemento ospita il meccanismo di chiusura dei catenacci (vedi paragrafo seguente).
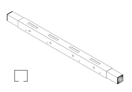
Specifiche tecniche mod. BASIC:
![]() Fig. 4 - Elemento orizzontale mod. BASIC |
Specifiche tecniche mod. PENTABLIND:
![]() Fig. 5 - Elemento orizzontale mod. PENTABLIND |
Rollgrate® è un brevetto regolarmente depositato presso l'U.I.B.M. di Milano (protocollo n° MI2011-A00248).
Lo speciale meccanismo di chiusura dei catenacci è alloggiato all'interno dell'ultimo elemento orizzontale in basso.
Tale meccanismo non adotta nè chiavi nè serrature di sorta, ed opera sia automaticamente che manualmente.
La rotazione della maniglietta di chiusura determina l'inserimento o il disinserimento dei catenacci e, conseguentemente, la predisposizione al passaggio di configurazione: per la modalità grata la maniglietta di chiusura sarà necessariamente in posizione CLOSE (catenacci inseriti). In modalità tapparella, al fine dell'avvolgimento, la maniglietta sarà necessariamente in posizione OPEN (catenacci disinseriti), mentre con la tapparella abbassata si potrà scegliere se inserire o disinserire i catenacci.
Solo ed esclusivamente la modalità tapparella i catenacci possono essere azionati: in modalità grata la maniglietta rimarrà bloccata e non sarà possibile disinserire i catenacci.
Specifiche tecniche:
Fig. 6 - Meccanismo di chiusura
Innovazione e sicurezza in un unico prodotto
Per offrirti il miglior servizio possibile questo sito utilizza cookies. Continuando la navigazione nel sito autorizzi l'uso dei cookies. Per saperne di piu' clicca qui. OK